Fedezd fel a legjobb árakat az ÁrIránytűn Magyarország legújabb és leghatékonyabb ár-összehasonlító platformján. Spórolj okosan, vásárolj tudatosan.
Extol betonfúró, keresztfejű, SDS PLUS, 26×600mm (8801752) HRA 89,5 -90 keménységűre edzett keresztfejű (4 élű) vídia (keményfém lapkás) YG8 hegy éles csúcsba formázott éle biztosítja a munkaanyagon való határozott áthaladást és jobban ellenáll a magasabb hőmérsékletnek, így nagyobb tartósságot biztosít, valamint élesebb behatolást a fúrt anyagon keresztül. Alka
Termék részletek
REMS gyémánt magfúró korona 132mm Teljesen automatikus berendezéssel induktívan forrasztva a forrasztások egyenletesen kiváló minőségét biztosítandó. Fúrócsövek forrasztott gyémánt-szegmensekkel, egyszerű kemény forrasztással felújítható.
Termék részletek
KREATOR KŐZETFÚRÓ 10X120 056310
Termék részletek
Termék részletek
Kiváló minőségű, robusztus, DIN 8039 szabvány szerinti, 130°-os keményfém lapkás betonfúró, kiemelkedő hőtűréssel, nagyon hosszú élettartammal, a gyors törmelékszállításhoz speciális hornyokkal Kiváló minőségű, robusztus, DIN 8039 szabvány szerinti, 130°-os keményfém lapkás betonfúró, kiemelkedő hőtűréssel, nagyon hosszú élettartammal, a gyors törmeléksz
Termék részletek
Magasabb szintű fúrás A 2-élű dupla spirálos fúrófejek megfelelnek a legmagasabb minőségi követelményeknek, melyek a professzinális felhasználók számára lettek kifejlesztve. A HiKoki a legfrissebb innovációkat alkalmazza az újonnan kifejlesztett fúrófejeknél, ezzel új mércét állítva fel a területen. Extrém körülmények közt tesztelve bizonyították minőségüket
Termék részletek
Termék részletek
Termék részletek
IRWIN Kőzetfúró 8 x 160/100 mm SDS-Plus (10 db/cs) Az innovatív dizájn – befelé és kifelé is görbülés/torzulás nélkül. Nagyon gyorsan eltávolítja a port és a törmeléket. Az tömődésmentes kialakítás miatt különösen hatékony a meg nem kötött betonban is. INNOVATÍV FEJ- ÉS CSÚCSGEOMETRIAA vastagabb keményfém hegy javítja a szilárdságot és a tartósságot. Az a
Termék részletek
Anyag: CrV ötvözetű acél Típus: Normál/hengerelt szárú, központosító heggyel Felhasználás: általános faipari fúráshoz
Termék részletek
10 db HSS-R-fúró 3,3x65 mm (627723000)
Termék részletek
Termék részletek
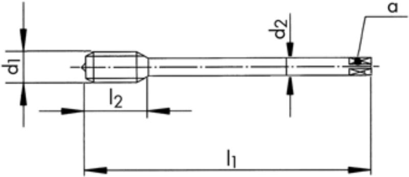
G1/8-1/2 csavart hornyú, C és E bekezdéses DIN EN ISO 228| DC szinkron menetfúró HSSE-PM
Termék részletek
MILWAUKEE Lapos fafúró 28 x 152 mmA Milwaukee 1924 óta foglalkozik hordozható, nagy teljesítményű, elektromos szerszámgépek és tartozékaik gyártásával. Termékei világszerte nagy hírnévnek örvendenek a kiváló minőségnek és megbízhatóságnak köszönhetően. A Milwaukee a folyamatos fejlesztéseivel elérte, hogy tökéletesen megfeleljen a nemzetközi és európai szabván
Termék részletek
Az áriránytűn több millió terméket listázunk és folyamatosan bővül a kereskedő partnereink száma.
Te is szeretnéd, ha termékeid megjelennének az áriránytű ajánlatai között?